Стационарное подключение только к холодной воде
Программа сушки
2 LED лампы
Сенсорный текстовый TFT-дисплей
Персонализация автоматических программ
Кнопка для вызова информации с указаниями по обслуживанию
Дверь открывается в сторону, угол открытия до 180°
Функция осаждения пара
Паровой удар
Трехточеченый температурный щуп с автоматическим отключением и отображением времени
Краткосрочный и долгосрочный таймер
Автоматическое определение точки кипения
Индикатор насыщения фильтра для очистки воды от накипи (при подключении GF 111 100)
Для подключения к Home Connect, необходимо соединить прибор с роутером при помощи LAN-кабеля (рекомендуется) или через WiFi
Защита на время отпуска
Охлаждение корпуса прибора с термозащитой
Съемный натяжной фильтр
Демо-программа очистки
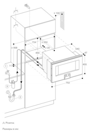
Запрещается устанавливать другие электронные приборы над BS
Шланг для отвода воды должен всегда располагаться ниже уровня установки прибора. Вывод для слива должен быть расположен как минимум на 100 мм ниже уровня прибора
Шланг для подвода воды может быть удлинен
Длина шланга для отвода воды не должна превышать 5 метров
Точка подключения прибора к водопроводу должна быть легкодоступна и не должна располагаться непосредственно за прибором
Точка подключения слива воды (сифон) должна быть легкодоступна и не должна располагаться непосредственно за прибором
При жесткости воды более 7 dH обязательна установка фильтра для защиты от накипи GF 111 100
Фасад прибора выступает на 47 мм от уровня мебели
Между прибором и фасадом соседних шкафов необходимо предусмотреть выступ
При установке в углу необходимо обеспечить угол открытия дверцы минимум на 90°
Розетка для подключения прибора должна располагаться за пределами ниши для встраивания
Шланг для подвода воды, диаметр подключения ¾" (26,4 мм)
Шланг для отвода воды (ø 24 mm) длина 3.0 м
Для покупки товара в нашем интернет-магазине выберите понравившийся товар и добавьте его в корзину. Далее перейдите в Корзину и нажмите на «Оформить заказ» или «Быстрый заказ».
Когда оформляете быстрый заказ, напишите ФИО, телефон и e-mail. Вам перезвонит менеджер и уточнит условия заказа. По результатам разговора вам придет подтверждение оформления товара на почту или через СМС. Теперь останется только ждать доставки и радоваться новой покупке.
Оформление заказа в стандартном режиме выглядит следующим образом. Заполняете полностью форму по последовательным этапам: адрес, способ доставки, оплаты, данные о себе. Советуем в комментарии к заказу написать информацию, которая поможет курьеру вас найти. Нажмите кнопку «Оформить заказ».
Оплачивайте покупки удобным способом. В интернет-магазине доступно 3 варианта оплаты:
- Наличные при самовывозе или доставке курьером. Специалист свяжется с вами в день доставки, чтобы уточнить время и заранее подготовить сдачу с любой купюры. Вы подписываете товаросопроводительные документы, вносите денежные средства, получаете товар и чек.
- Безналичный расчет при самовывозе или оформлении в интернет-магазине: карты Visa и MasterCard. Чтобы оплатить покупку, система перенаправит вас на сервер системы ASSIST. Здесь нужно ввести номер карты, срок действия и имя держателя.
- Электронные системы при онлайн-заказе: PayPal, WebMoney и Яндекс.Деньги. Для совершения покупки система перенаправит вас на страницу платежного сервиса. Здесь необходимо заполнить форму по инструкции.
Экономьте время на получении заказа. В интернет-магазине доступно 4 варианта доставки:
- Курьерская доставка работает с 9.00 до 19.00. Когда товар поступит на склад, курьерская служба свяжется для уточнения деталей. Специалист предложит выбрать удобное время доставки и уточнит адрес. Осмотрите упаковку на целостность и соответствие указанной комплектации.
- Самовывоз из магазина. Список торговых точек для выбора появится в корзине. Когда заказ поступит на склад, вам придет уведомление. Для получения заказа обратитесь к сотруднику в кассовой зоне и назовите номер.
- Постамат. Когда заказ поступит на точку, на ваш телефон или e-mail придет уникальный код. Заказ нужно оплатить в терминале постамата. Срок хранения — 3 дня.
- Почтовая доставка через почту России. Когда заказ придет в отделение, на ваш адрес придет извещение о посылке. Перед оплатой вы можете оценить состояние коробки: вес, целостность. Вскрывать коробку самостоятельно вы можете только после оплаты заказа. Один заказ может содержать не больше 10 позиций и его стоимость не должна превышать 100 000 р.
Дополнительная вкладка, для размещения информации о магазине, доставке или любого другого важного контента. Поможет вам ответить на интересующие покупателя вопросы и развеять его сомнения в покупке. Используйте её по своему усмотрению.
Вы можете убрать её или вернуть обратно, изменив одну галочку в настройках компонента. Очень удобно.
